你好,欢迎访问江苏博格东进管道设备有限公司的官方网站!致力于世界最强企业而奋斗。
news
contact us
江苏博格东进管道设备有限公司
联 系 人:拜先生 13914442669
单位电话:0523-88690302
邮 箱:88690302@163.com
网 址:www.jsbgdj.com
地 址:江苏省姜堰市娄庄镇工业园

金属膨胀节性能特点: 主要以角偏转的方式补偿多平面弯曲管段的合成位移。 由于平衡环、销轴和铰链板能承受压力推力和其他附加外力的作用,金属膨胀节自身吸收内压推力,不会对管道产生外力,因此管道支撑的设置可以简化。万向铰链式波纹补偿器可以补偿管线任意向上的角位移。万向铰链型膨胀节与铰链式不同处在于它有一个万向环,在万向环的周向有二对相互垂直的铰链结构,因此它能吸收任意平面的角向位移,同样吸收位移时需二个或三个组合使用。
万向铰链型波纹膨胀节应用范围: 要应用于各种复杂管系,补偿各种空间管系的角向位移,如L型管道、Z型管道、U型管道等。
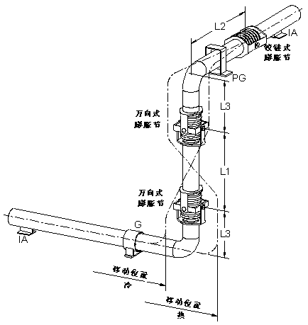
在多平面的管道系统中,设计成应用两个万向型膨胀节的“Z”型管道是最好的解决方法。如图所示,万向式膨胀节可以吸收两个不同平面的热膨胀,同时吸收压力推 力。支管中的热膨胀已经被水平方向的管道自身的挠性所吸收。如图所示的平面导管装置控制着垂直方向的位移。中间支架则用于吸收系统中的低补偿力。
两个万向铰链型波纹膨胀节、一个铰链式波纹膨胀节系统结构图

当水平管道自身的挠性无法满足支管中热膨胀的吸收时,这种多平面管道系统就经常被应用。如图所示,为了适应这种热膨胀位移,需将一个铰链式膨胀节与两个万向 型膨胀节联合使用。这样可以保证L1与L2有最大尺寸规格,L3则保持最小。低处的管道必须用固定的导管装置,高处的管道则需用平面导管装置。